Тензодатчики CAS стальные консольного типа BSS

CAS
Производитель CAS
  • Широкий выбор весов в наличии
  • Только проверенные бренды с лучшим соотношение цена / качество
  • Гарантийное и послегарантийное обслуживание весов в г. Минске
  • Обслуживание и ремонт весов на территории заказчика

Тензодатчики стальные консольного типа BSS

Класс защиты: IP 67;
Материал: Нержавеющая сталь;
Кабель: 4-х жильный в ПВХ оплетке;
Номинальная нагрузка, кг: 500, 1000, 2000, 3000, 5000.

Применение:

весы платформенные для взвешивания емкостей.

Технические характеристики

Класс точности D3 C3
Номинальная нагрузка, kgf 500, 1tf, 2tf, 3tf, 5tf
РКП номинальный, мВ/В 2±0.005
Нулевой сигнал мВ/В 0±0.02
Общая ошибка, % 0.03 0.025
Повторяемость, % 0.01 0.01
Ползучесть (30 мин), % 0.03 0.017
Температурный дрейф нуля, %/10°C 0.028 0.014
Температурный дрейф сигнала, %/10°C 0.014 0.011
Напряжение питания номинальное, В 10
Напряжение питания максимальное, В 15
Сопротивление входное, Ом 350 ±3.5
Сопротивление выходное, Ом 350 ±3.5
Сопротивление изоляции, МОм >2,000
Температурный диапазон с компенсацией температурного дрейфа, °C -10 to +40
Эксплуатационный температурный диапазон, °C -30 to +80

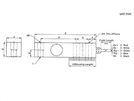
Размеры

Модель BSS-500L BSS-1 BSS-2 BSS-3 BSS-5
Нагрузка 500kgf 1tf 2tf 3tf 5tf
A 13.5 20
B 13.5 20
C 31.7 38.1
D 15.8 19.1
E 130 171.5
F 15.8 19.0
G 25.4 38.1
H 76.2 95.3
I M12x1.75 M18x1.5
J 37.7 38.1
K 52 76.2

Крепление

Нагрузка Hexagon head-Bolt Момент затяжки
500kgf-2tf M12x1.75(10.9) 100Nm
3tf-5tf M18x1.5(10.9) 350Nm

 

 

Меню
Обработка заказов 24/7